Graal Forums  

Go Back   Graal Forums > General Forums > Graal Main Forum (English)
FAQ Members List Calendar Today's Posts

Reply
 
Thread Tools Search this Thread Display Modes
  #16  
Old 08-15-2017, 10:19 AM
Crow Crow is offline
ǝɔɐɹq ʎןɹnɔ
Crow's Avatar
Join Date: Dec 2006
Location: Germany
Posts: 5,153
Crow has a reputation beyond reputeCrow has a reputation beyond reputeCrow has a reputation beyond reputeCrow has a reputation beyond reputeCrow has a reputation beyond reputeCrow has a reputation beyond reputeCrow has a reputation beyond reputeCrow has a reputation beyond reputeCrow has a reputation beyond reputeCrow has a reputation beyond reputeCrow has a reputation beyond repute
Quote:
Originally Posted by Kamaeru View Post
Look man, I've checked those games out before when they released. I didn't think they were very good. I also played most of the previous God of War games and thought they were quite vapid compared to a quality beat-em-up like Bayonetta or Devil May Cry. Too many quick-time cutscene battles. I just wasn't having fun.

Someone has to be out here fighting for Nintendo. I want video games to be awesome. I know that I can only rely on one company to do what needs to be done, and I see an army of shills approaching to tell everyone about how Nintenyearolds only play kiddy Nintentrash. You know what I'm talking about. If you talk about video games anywhere, there is some ***** who thinks Nintendo is going the way of the dinosaur and just has to tell you about it. So I am the antithesis of that, okay? I know for a fact that Nintendo is gonna destroy the competition from now until the year 2030, and I also know that the media is gonna hate them for the fact that they won't give them any sponsorship money like Sony and MS did. It's not gonna work anymore though because people are going to places like Youtube for opinions and reviews, and on Youtube the competitive market means that whoever is most objective and on-point naturally is popular. So get rekt honestly, I don't feel bad for any of you Nintendo-haters, I really really don't.
Whoever claims that Nintendo is dying or makes bad games or only makes games aimed at kids has no idea anyway, so I'll likely stop talking to them sooner rather than later. But Nintendo won't be destroying any competition, mostly because they are not directly competing with Sony and Microsoft anymore. They've moved into a sort of niche that is still big enough for Nintendo to be incredibly successful and popular. Certainly not a development I mind much.


Quote:
Originally Posted by Kamaeru View Post
btw you listed bloodborne twice. that is beyond hilarious.
Three times, actually. It is just that good <3
Reply With Quote
  #17  
Old 08-16-2017, 12:20 AM
kia345 kia345 is offline
z0rbi 4 life 🤘
kia345's Avatar
Join Date: Dec 2006
Location: delteria
Posts: 6,737
kia345 has a reputation beyond reputekia345 has a reputation beyond reputekia345 has a reputation beyond reputekia345 has a reputation beyond reputekia345 has a reputation beyond reputekia345 has a reputation beyond reputekia345 has a reputation beyond reputekia345 has a reputation beyond reputekia345 has a reputation beyond reputekia345 has a reputation beyond reputekia345 has a reputation beyond repute
wow it's another nintendo fanboy thread somehow

Quote:
Originally Posted by Joshua_P2P View Post
Chris Vimes
There's a guy who goes by ckbd19 in a wrestling stream chat I see every week, and every time I see him say something I doubletake because I read it as cbk1994
__________________
pojo
Reply With Quote
  #18  
Old 08-16-2017, 05:41 AM
Kamaeru Kamaeru is offline
G2k1
Kamaeru's Avatar
Join Date: Dec 2001
Posts: 1,040
Kamaeru has much to be proud ofKamaeru has much to be proud ofKamaeru has much to be proud ofKamaeru has much to be proud ofKamaeru has much to be proud ofKamaeru has much to be proud of
Quote:
Originally Posted by kia345 View Post
wow it's another nintendo fanboy thread somehow
You've got people listing bloodborne twice and yet I'm the fanboy. Get a fresher insult pls.
__________________
3DS friendcode: 1118-0226-7975

Last edited by Kamaeru; 08-16-2017 at 07:00 AM..
Reply With Quote
  #19  
Old 08-16-2017, 05:44 AM
Kamaeru Kamaeru is offline
G2k1
Kamaeru's Avatar
Join Date: Dec 2001
Posts: 1,040
Kamaeru has much to be proud ofKamaeru has much to be proud ofKamaeru has much to be proud ofKamaeru has much to be proud ofKamaeru has much to be proud ofKamaeru has much to be proud of
Quote:
Originally Posted by Crow View Post
Nintendo won't be destroying any competition, mostly because they are not directly competing with Sony and Microsoft anymore.
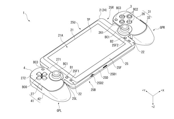
If Nintendo isn't competing with Sony, care to explain this?



Looks to me like Sony literally copies every single thing Nintendo does because they are the market leader.

Sony is going to try to compete on Nintendo's terms and fail, period. Microsoft is gonna keep doing what they're doing because they're retarded, but Sony is going to go out of business my dudes.
Attached Thumbnails
Click image for larger version

Name:	sony-patent-1487345867104_610w.jpg
Views:	418
Size:	24.9 KB
ID:	56013  
__________________
3DS friendcode: 1118-0226-7975
Reply With Quote
  #20  
Old 08-16-2017, 07:47 AM
Crow Crow is offline
ǝɔɐɹq ʎןɹnɔ
Crow's Avatar
Join Date: Dec 2006
Location: Germany
Posts: 5,153
Crow has a reputation beyond reputeCrow has a reputation beyond reputeCrow has a reputation beyond reputeCrow has a reputation beyond reputeCrow has a reputation beyond reputeCrow has a reputation beyond reputeCrow has a reputation beyond reputeCrow has a reputation beyond reputeCrow has a reputation beyond reputeCrow has a reputation beyond reputeCrow has a reputation beyond repute
You need to look at the games, not the hardware.
Reply With Quote
  #21  
Old 08-16-2017, 05:30 PM
kia345 kia345 is offline
z0rbi 4 life 🤘
kia345's Avatar
Join Date: Dec 2006
Location: delteria
Posts: 6,737
kia345 has a reputation beyond reputekia345 has a reputation beyond reputekia345 has a reputation beyond reputekia345 has a reputation beyond reputekia345 has a reputation beyond reputekia345 has a reputation beyond reputekia345 has a reputation beyond reputekia345 has a reputation beyond reputekia345 has a reputation beyond reputekia345 has a reputation beyond reputekia345 has a reputation beyond repute
Quote:
Originally Posted by Kamaeru View Post
You've got people listing bloodborne twice and yet I'm the fanboy. Get a fresher insult pls.
bloodborne is from soft's worst game but it's still more interesting than breath of the wild

actually every part of that is a lie but the sentiment is sincere

Quote:
Originally Posted by Kamaeru View Post
Looks to me like Sony literally copies every single thing Nintendo does because they are the market leader.
Looks like it's just a continuation of Sony's Remote Play.


Which I guess you could argue was a copy of Nintendo's objective failure, the Wii U. But that require claiming Sony intentionally copied a flop, and also that Nintendo is the only company to ever consider handheld gaming and that any handheld game console is just a rip off, because I don't know about you but whenever I look at an NGage I am revolted by how similar to the Game Boy it is

But really handheld gaming is in by way of how mobile gaming is in and touch screens for gaming is out and Nintendo isn't leading any of those marches by any means.





and everything is a rip off of the dreamcast
__________________
pojo
Reply With Quote
  #22  
Old 08-17-2017, 03:44 AM
Kamaeru Kamaeru is offline
G2k1
Kamaeru's Avatar
Join Date: Dec 2001
Posts: 1,040
Kamaeru has much to be proud ofKamaeru has much to be proud ofKamaeru has much to be proud ofKamaeru has much to be proud ofKamaeru has much to be proud ofKamaeru has much to be proud of
Quote:
Originally Posted by kia345 View Post

actually every part of that is a lie
das right

i don't believe i need to remind you this, but the entire touch screen thing was started by nintendo. before nintendo DS, touch screens were considered basically a joke in the tech world, it was like this gimmicky thing that nobody thought was really that useful. do you really forget all about palm pilot?

the way that nintendo DS used the touch screen was easily the most iconically disruptive move in the history of electronic tech period and has influenced EVERY aspect of our lives. nintendo does officially get credit for this disruption in tech. it's not about who invents it, or who does it first. it's about who popularizes an innovative product using it.
__________________
3DS friendcode: 1118-0226-7975
Reply With Quote
  #23  
Old 08-17-2017, 12:20 PM
Crono Crono is offline
:pluffy:
Join Date: Feb 2002
Location: Sweden
Posts: 20,000
Crono has a reputation beyond reputeCrono has a reputation beyond reputeCrono has a reputation beyond reputeCrono has a reputation beyond reputeCrono has a reputation beyond reputeCrono has a reputation beyond reputeCrono has a reputation beyond reputeCrono has a reputation beyond reputeCrono has a reputation beyond reputeCrono has a reputation beyond reputeCrono has a reputation beyond repute
Quote:
Originally Posted by Kamaeru View Post
das right

i don't believe i need to remind you this, but the entire touch screen thing was started by nintendo. before nintendo DS, touch screens were considered basically a joke in the tech world, it was like this gimmicky thing that nobody thought was really that useful. do you really forget all about palm pilot?

the way that nintendo DS used the touch screen was easily the most iconically disruptive move in the history of electronic tech period and has influenced EVERY aspect of our lives. nintendo does officially get credit for this disruption in tech. it's not about who invents it, or who does it first. it's about who popularizes an innovative product using it.
Uh, the iPhone popularized that in the tech world.
__________________
Reply With Quote
  #24  
Old 08-17-2017, 09:57 PM
BlueMelon BlueMelon is offline
asdfg
BlueMelon's Avatar
Join Date: Sep 2008
Posts: 1,481
BlueMelon is a splendid one to beholdBlueMelon is a splendid one to beholdBlueMelon is a splendid one to beholdBlueMelon is a splendid one to behold
Quote:
Originally Posted by Tim_Rocks View Post
I mostly lurk the forums nowadays.
lurking once a month

vote tim era manager 2017
__________________
http://i.imgur.com/OOJbW.jpg
Reply With Quote
  #25  
Old 08-18-2017, 04:38 AM
Kamaeru Kamaeru is offline
G2k1
Kamaeru's Avatar
Join Date: Dec 2001
Posts: 1,040
Kamaeru has much to be proud ofKamaeru has much to be proud ofKamaeru has much to be proud ofKamaeru has much to be proud ofKamaeru has much to be proud ofKamaeru has much to be proud of
Quote:
Originally Posted by Crono View Post
Uh, the iPhone popularized that in the tech world.
No it didn't, it was appropriated from Nintendo DS. If DS had not done it, all the tech firms would have surely not rushed to use it. I'm not even sure how you seem to think this is debatable. DS came out years before iphone (in this case you are actually referring to the ipod touch). Many journalists rushed to call this "the end of Nintendo handheld dominance"

Here is a very well written article that documents the entire DS 2004 reveal and the press coverage it got from sites like IGN which did a panel asking all of their journalists what they think of DS, and ALL but one of them said the DS would be a massive failure because of the touch screen and that PSP would take over the handheld market:

https://pietriots.com/2014/02/02/200...ndo-is-doomed/

Quote:
“DS may run out of steam after Christmas.”
Quote:
This was one thing they got right, because DS did run out of steam after Christmas, 2012.
Good job, but it's the streisand effect. These good games can't be suppressed. The more they hate on Nintendo, the more people are driven to take an objective look and what they will find will rock the boat.

http://nintendoeverything.com/july-2...#disqus_thread
__________________
3DS friendcode: 1118-0226-7975

Last edited by Kamaeru; 08-18-2017 at 04:51 AM..
Reply With Quote
  #26  
Old 08-18-2017, 08:21 AM
Crono Crono is offline
:pluffy:
Join Date: Feb 2002
Location: Sweden
Posts: 20,000
Crono has a reputation beyond reputeCrono has a reputation beyond reputeCrono has a reputation beyond reputeCrono has a reputation beyond reputeCrono has a reputation beyond reputeCrono has a reputation beyond reputeCrono has a reputation beyond reputeCrono has a reputation beyond reputeCrono has a reputation beyond reputeCrono has a reputation beyond reputeCrono has a reputation beyond repute
Quote:
Originally Posted by Kamaeru View Post
No it didn't, it was appropriated from Nintendo DS. If DS had not done it, all the tech firms would have surely not rushed to use it. I'm not even sure how you seem to think this is debatable. DS came out years before iphone (in this case you are actually referring to the ipod touch). Many journalists rushed to call this "the end of Nintendo handheld dominance"

Here is a very well written article that documents the entire DS 2004 reveal and the press coverage it got from sites like IGN which did a panel asking all of their journalists what they think of DS, and ALL but one of them said the DS would be a massive failure because of the touch screen and that PSP would take over the handheld market:

https://pietriots.com/2014/02/02/200...ndo-is-doomed/
You're delusional if you think it was the DS and not the iPhone that revolutionized the touch screen's place in the tech industry.
__________________
Reply With Quote
  #27  
Old 08-18-2017, 10:33 AM
Crow Crow is offline
ǝɔɐɹq ʎןɹnɔ
Crow's Avatar
Join Date: Dec 2006
Location: Germany
Posts: 5,153
Crow has a reputation beyond reputeCrow has a reputation beyond reputeCrow has a reputation beyond reputeCrow has a reputation beyond reputeCrow has a reputation beyond reputeCrow has a reputation beyond reputeCrow has a reputation beyond reputeCrow has a reputation beyond reputeCrow has a reputation beyond reputeCrow has a reputation beyond reputeCrow has a reputation beyond repute
Quote:
Originally Posted by Crono View Post
You're delusional if you think it was the DS and not the iPhone that revolutionized the touch screen's place in the tech industry.
I second this.
Reply With Quote
  #28  
Old 08-19-2017, 12:24 AM
Kamaeru Kamaeru is offline
G2k1
Kamaeru's Avatar
Join Date: Dec 2001
Posts: 1,040
Kamaeru has much to be proud ofKamaeru has much to be proud ofKamaeru has much to be proud ofKamaeru has much to be proud ofKamaeru has much to be proud ofKamaeru has much to be proud of
Quote:
Originally Posted by Crono View Post
You're delusional if you think it was the DS and not the iPhone that revolutionized the touch screen's place in the tech industry.
I'm still pretty sure you mean to say Ipod touch, which clearly used a touch screen after ds did it.
__________________
3DS friendcode: 1118-0226-7975
Reply With Quote
  #29  
Old 08-19-2017, 12:31 AM
kia345 kia345 is offline
z0rbi 4 life 🤘
kia345's Avatar
Join Date: Dec 2006
Location: delteria
Posts: 6,737
kia345 has a reputation beyond reputekia345 has a reputation beyond reputekia345 has a reputation beyond reputekia345 has a reputation beyond reputekia345 has a reputation beyond reputekia345 has a reputation beyond reputekia345 has a reputation beyond reputekia345 has a reputation beyond reputekia345 has a reputation beyond reputekia345 has a reputation beyond reputekia345 has a reputation beyond repute
the original ds was a joke to everyone over seven and not in the koolaid line though

and touch screen palm pilots existed - and were popular - long before the ds was even considered

the only thing nintendo influenced with its touch screen were later ds models
__________________
pojo
Reply With Quote
  #30  
Old 08-19-2017, 05:32 PM
Kamaeru Kamaeru is offline
G2k1
Kamaeru's Avatar
Join Date: Dec 2001
Posts: 1,040
Kamaeru has much to be proud ofKamaeru has much to be proud ofKamaeru has much to be proud ofKamaeru has much to be proud ofKamaeru has much to be proud ofKamaeru has much to be proud of
I'm not intellectually charitable enough to continue this retarded debate. I was debating you guys because of the shred of credibility I have for you, but if this continues onward in this irrational fashion I would lose all respect for your intelligence, which I don't wish for that to happen.
__________________
3DS friendcode: 1118-0226-7975
Reply With Quote
Reply


Posting Rules
You may not post new threads
You may not post replies
You may not post attachments
You may not edit your posts

BB code is On
Smilies are On
[IMG] code is On
HTML code is Off

Forum Jump


All times are GMT +2. The time now is 02:20 AM.


Powered by vBulletin® Version 3.8.11
Copyright ©2000 - 2026, vBulletin Solutions Inc.
Copyright (C) 1998-2019 Toonslab All Rights Reserved.